Продажа и установка систем видеонаблюдения и контроля доступа
Наличие уточняйте
Арт.: 307799
1 125 руб.
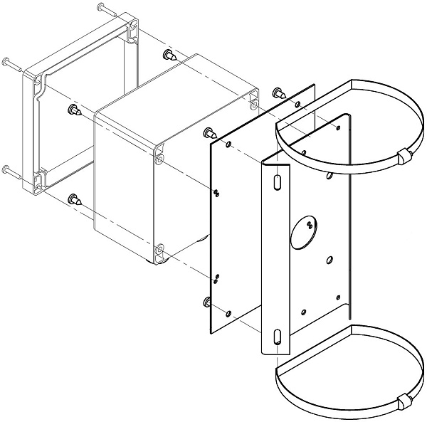
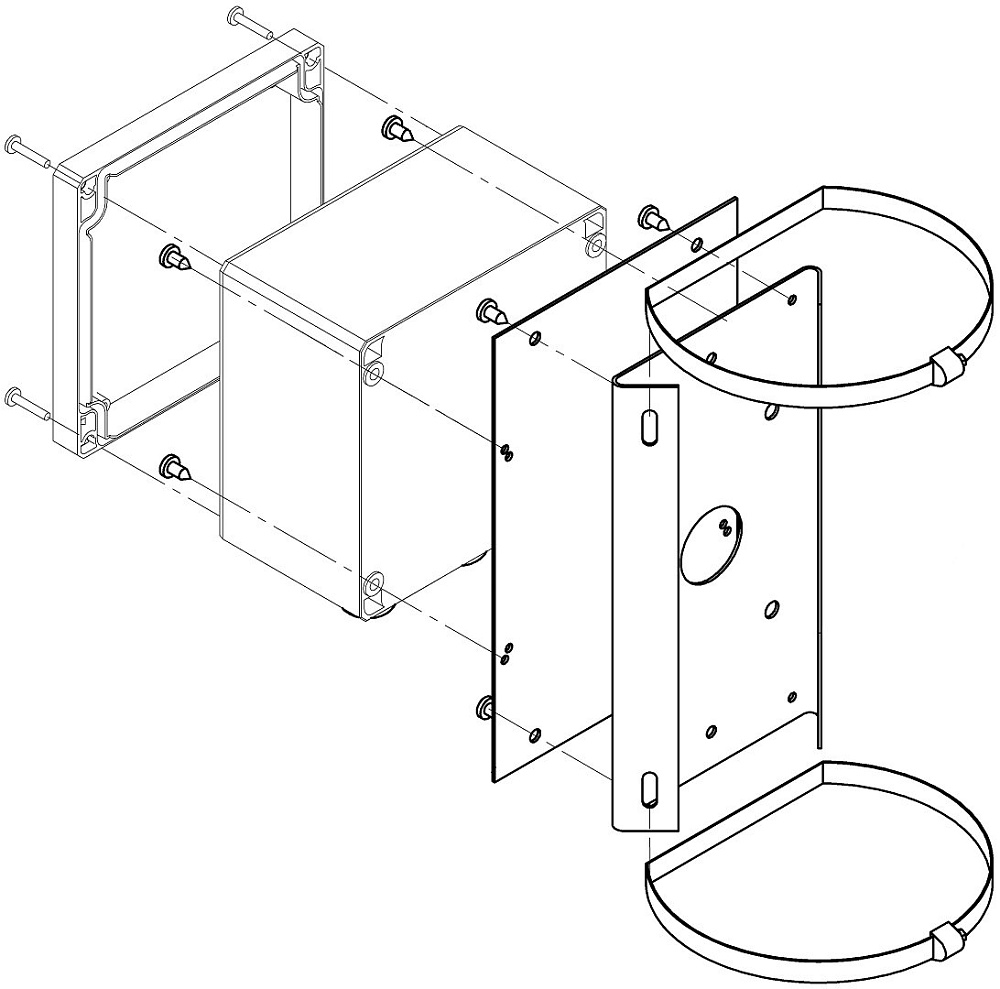
Кронштейн для крепления коробок распределительных серии КР-1 на квадратные и круглые опоры Ø  115 ÷ 135 мм, 190х120х22 мм.

Рекомендуемые товары

Недавно просмотренные