Продажа и установка систем видеонаблюдения и контроля доступа
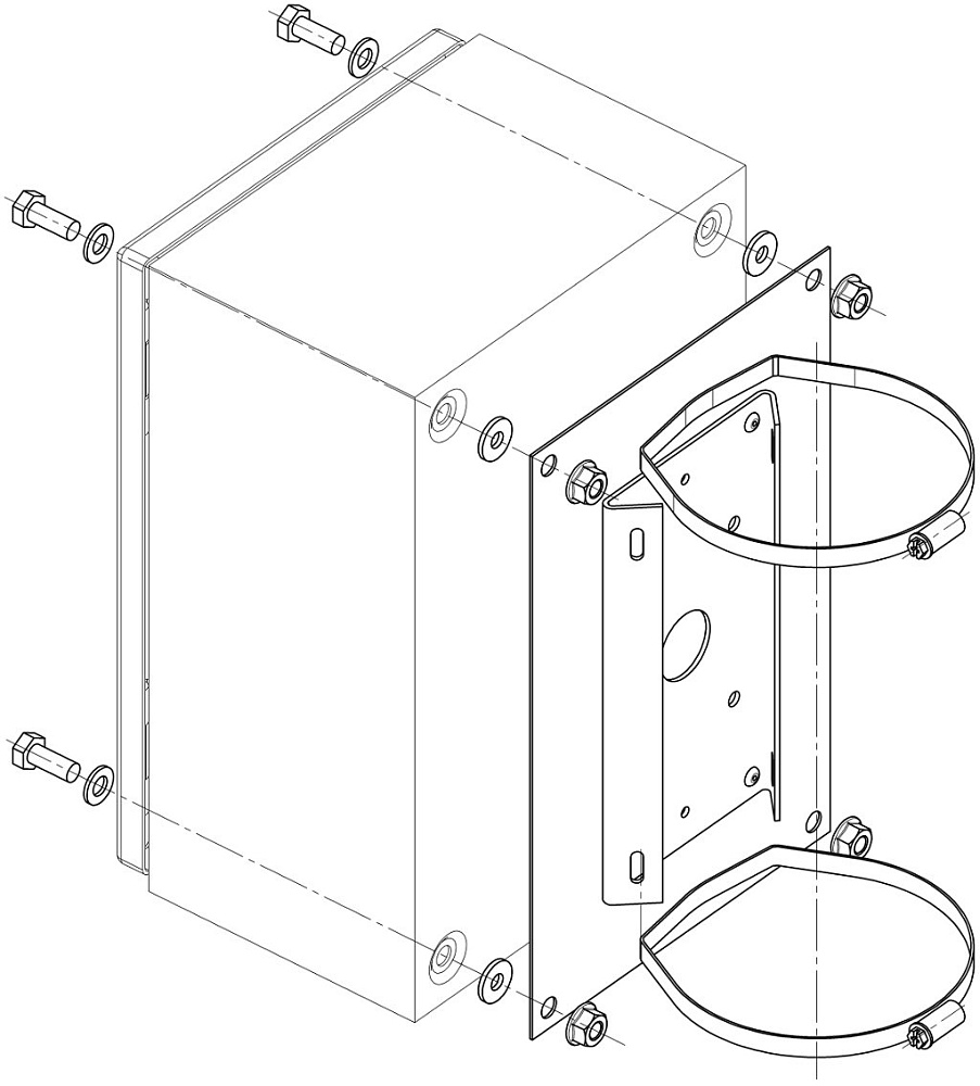
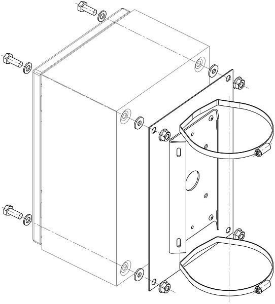
Крепление ШМ-1 (2) на квадратную и круглую опору до 115...135 мм; 280х180х22 мм.
Максимальный размер опоры, мм
115…135